防爆電機型號:YBK3防爆電機結構特點
發布日期:2019年12月10日 信息來源:/ 點擊數:
YBK3防爆電機的接線盒位于電動機頂部, 可 4 個方向進線, 適用于橡套電纜(或塑料電纜) 和鋼管布線兩種結構, 接線盒可分別制成 3 個或 6 個接線端子, 內設一個接地端子, 并按其規格分別制成一個(M8 及以下) 或兩個(M10 及以上) 出線口。
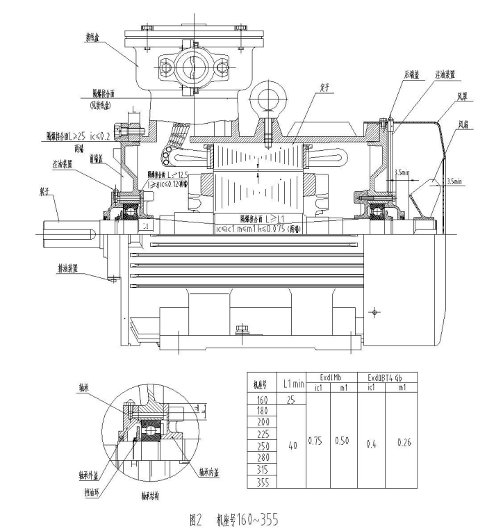
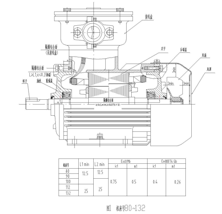
本系列電動機中心高 180~225 機座號在結構上考慮了設置不停機注排油裝置的位置, 中心高 250 及以上機座號電動機設置了不停機注排油裝置。
本系列電動機主體結構見圖 1.2, 接線盒結構見圖 3.4.
YBK3防爆電機 3kW 及以下為 Y 接(380V), 其它功率電壓為 380V 時△接、 660V、 1140V時 Y 接。
更多防爆電機產品知識請關注:www.ys-chn.com電話:0394-8687286 手機:15518435289 劉經理
相關閱讀:
